Projecten
Producten
Bedrijven
Vacatures
Agenda
Awards
Podcasts
more_horiz
Videos
Magazine
Thema's
Favorieten
Profiel
Uitloggen
Copyright: Atelier Kempe Thill
Copyright: Nieuwe gevel. Atelier Kempe Thill
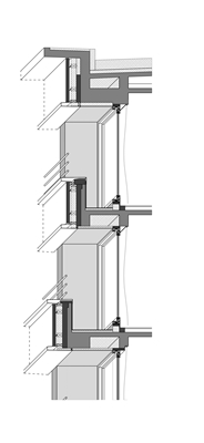
Copyright: Detail nieuwe gevel. Atelier Kempe Thill
Copyright: Inpakken. Atelier Kempe Thill
Copyright: Voor en na. Atelier Kempe Thill
Copyright: Detail. Atelier Kempe Thill
Florair in de jaren vijftig
Kempe Thill wint tender woonproject Brussel
5 februari 2015, 17:22
Een Europese competitie voor de renovatie en verbetering van twee appartementenblokken in Brussel is gewonnen door
Atelier Kempe Thill
. Het architectenbureau simplificeert de gevels om paradoxaal genoeg de oorspronkelijke elegantie terug te brengen.
Het woonproject Florair is gesitueerd in het groen stedelijke district Jette van Brussel. De twee gebouwen liggen in een geaccidenteerde parkachtige omgeving en gelden als goed ontworpen voorbeelden van het modernisme uit de jaren vijftig van de vorige eeuw.
De gebouwen worden gekenmerkt door genereuze gevelelementen van prefab beton in combinatie met elegante stalen kozijnen. Dit zijn de kwaliteiten die de opdrachtgever, de huisvestingsorganisatie van het Brussels Gewest, wil behouden. Tegelijkertijd moeten de appartementenblokken thermisch worden geĆÆsoleerd naar de hedendaagse standaard.
Inpakken en opbouwen
De benadering van Atelier Kempe Thill neemt een herinterpretatie van de bestaande architectuur als startpunt, zo legt het bureau uit. De gevels worden geheel ingepakt in isolatiemateriaal en vervolgens opnieuw bekleed met nieuwe prefab betonelementen.
Dit wordt gecombineerd grote glasvlakken en sterk gearticuleerde vensters. Afwisseling in de dikte, kleur en belijning van het beton draagt bij aan een herinterpretatie van het decoratieve patroon van de originele gevel. Om terug te komen bij de elegantie van het oorspronkelijke Florair, wordt de gevel paradoxaal genoeg gesimplificeerd en robuuster gemaakt.
Aan de besloten Europese tender namen vijf teams deel. Het winnende ontwerp is van Atelier Kempe Thill met
Canevas
uit het Belgische Luik als co-architect.
Trefwoorden
hoogbouw
modernisme
belgië
appartementengebouw
woningbouw
atelier kempe thill
jette
brussel
renovatie
canevas
Best gelezen
1
Amsterdam schrijft internationale architectenprijsvraag uit voor Nationaal Slavernijmuseum
donderdag, 12 februari
2
Ontsluitingen spelen centrale rol binnen woonblok Hibi in Amstelkwartier
woensdag, 11 februari
3
Singelbloktoren Amsterdam-Noord biedt ook bewoners tussenwoningen overhoeks zicht
maandag, 16 februari
4
Groninger Museum belicht cultuurgeschiedenis karakteristieke Groningse baksteen
woensdag, 11 februari
5
Meerdaags evenement over bouwen met aarde aangekondigd
donderdag, 12 februari
Gerelateerde nieuwsberichten
Kempe Thill ontwerpt T2-campus Genk
20 mei 2015
Groot renovatieproject Kempe-Thill van start
9 september 2015
Atelier Kempe Thill wint prijsvraag voor kantoorgebouw in Parijs
10 november 2017
Zeevaartschool Antwerpen kiest Kempe Thill
4 juli 2014
Gemeentehuis Borsele in het nieuw gestoken
27 augustus 2014
Parlementsgebouw Duitstalige Belgen opgeleverd
16 januari 2014
Atelier Kempe Thill herontwikkelt militair terrein
25 september 2013
Atelier Kempe Thill wint prijsvraag voor klooster
2 september 2013
Nieuw woongebouw Kempe Thill in Antwerpen
4 maart 2014
Project van Kempe Thill in Parijs van start
8 september 2014
Laagbouw met hoge dichtheid in centrum Arnhem
12 februari 2016
Kempe Thill ontwerpt faculteitsgebouw Hasselt
16 december 2016
Opleidingscentrum bovenop een tunnel voor spoorbeheerder
19 september 2018
Atelier Kempe Thill ontwerpt nieuw baken langs de Elbe in Hamburg
7 april 2020
Kempe Thill ontwerpt T2-campus Genk
20 mei 2015
Groot renovatieproject Kempe-Thill van start
9 september 2015
Atelier Kempe Thill wint prijsvraag voor kantoorgebouw in Parijs
10 november 2017
Zeevaartschool Antwerpen kiest Kempe Thill
4 juli 2014
Gemeentehuis Borsele in het nieuw gestoken
27 augustus 2014
Parlementsgebouw Duitstalige Belgen opgeleverd
16 januari 2014
Atelier Kempe Thill herontwikkelt militair terrein
25 september 2013
Atelier Kempe Thill wint prijsvraag voor klooster
2 september 2013
Nieuw woongebouw Kempe Thill in Antwerpen
4 maart 2014
Project van Kempe Thill in Parijs van start
8 september 2014
Laagbouw met hoge dichtheid in centrum Arnhem
12 februari 2016
Kempe Thill ontwerpt faculteitsgebouw Hasselt
16 december 2016
Opleidingscentrum bovenop een tunnel voor spoorbeheerder
19 september 2018
Atelier Kempe Thill ontwerpt nieuw baken langs de Elbe in Hamburg
7 april 2020
Toon alles
Gerelateerde video's
Spijkerkwartier Arnhem
Atelier Kempe Thill
Andere nieuwsberichten
Vincent Bijlo en Berlage Saxophone Quartet brengen iconisch ontwerp van Berlage tot leven
4 uur geleden
In de nieuwe voorstelling āHet Visioen van Berlageā van cabaretier en schrijver Vincent Bijlo en het Berlage Saxophone Quartet speelt het iconische ontwerp Pantheon der Menschheid (1915) van architect Berlage een centrale rol.
Boek belicht vijftien succesvolle wooncoöperaties
Vandaag, 13:07
Aan bod komen de organisatie, architectuur, rechtsvormen, financiering en het dagelijks leven van bewoners.
Amsterdamse jongeren tonen ontwerpen voor nieuwbouw theater De Meervaart
Vandaag, 11:13
Onlangs is de architectenprijsvraag voor de nieuwbouw van theater De Meervaart in de Sloterplas in Amsterdam gestart. Ook jongeren uit de omgeving hebben zich gebogen over het ontwerp voor het nieuwe gebouw.
Gerestaureerd Tramhuis op Eendrachtsplein fungeert nu als kiosk voor stadswandelingen
Gisteren, 16:36
Bureau Polderman en Studio Robert van Oosterom hebben het monumentale gebouwtje in Rotterdam op basis van een foto 1931 gerestaureerd.
Nederland en Vlaanderen maken afspraken over stikstofuitstoot
Vandaag, 14:51
Overheden in de grensregio moeten als ze een vergunning geven voor zaken als woningbouw ook kijken naar de mogelijke gevolgen die de uitstoot heeft voor beschermde natuurgebieden aan de andere kant van de grens.
Blaricum lost Laren af als gemeente met duurste woningen
Vandaag, 10:39
Het verschil tussen de duurste en goedkoopste koophuizen is in 2025 groter geworden.
Noord-Hollands dorp Opmeer wil eerste mini-kernreactor huisvesten
Gisteren, 13:34
Opmeer heeft in het Nederlandse bedrijf Allseas een mogelijke bouwer van een Small Modular Reactor gevonden.
India wil grote datastad ontwikkelen vanwege opmars AI
Gisteren, 09:37
De datastad moet volgens minister Nara Lokesh een straal van 100 kilometer krijgen.
Heijmans voorziet voorlopig nog hinder door stikstofcrisis
13 februari, 5:28
Bouwbedrijf Heijmans heeft last van de stikstofcrisis en lange vergunningprocedures bij het bouwen van nieuwe woningen.
KB nationale bibliotheek eind 2028 naar tijdelijk onderkomen
13 februari, 1:13
r komt een vernieuwd publieksgebouw op de huidige locatie, dat in 2033 klaar moet zijn.
Ga naar het nieuws-archief
0
0
0
0
Voor een optimale gebruikservaring plaatst Architectenweb functionele cookies. Wat de verschillende cookies precies doen leggen we uit in een
overzicht
. Cookies van social media kun je optioneel
aanzetten
.
Akkoord
Instellingen
Annuleren
OK
Sluiten
Doorgaan
Inloggen
Maak een gratis persoonlijk account aan
Feedback
Feedback
Wij horen graag jouw feedback. Laat je reactie achter en eventueel jouw e-mail adres.
Reactie
Verstuur